Blog Posts
Your Future Ford F-Series Truck Might Be a Mobile Drive-In Movie Theater: What Will They Think Of Next?
Ford F-series
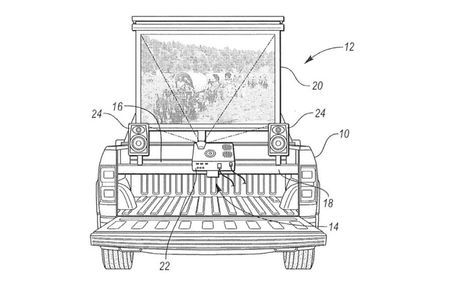
Ford recently patented a way to mount a movie projection screen, TV or projector, and a speaker system in a bed of a Ford F-150 or a Super Duty truck. If you have been looking for a way to streamline your next tailgate party experience or turn your campsite into a drive-in movie theatre, this may be the way to do it.
Ford F-150 bed and BoxLink cleats
Ford F-150 and Super Duty trucks with a pickup bed had a built-in BoxLink accessory mounting system on the inside of the bed. This is generally a way to store loading ramps, place cleats/ tie-downs, mount storage boxes, bed dividers, or other accessories.
This Ford patent shows a way to mount a crossbar and a projector screen (or a swiveling TV screen) inside the bed via the bed-side mounts, presumably the BoxLink system. A secondary bar can house a projector and/or auxiliary stereo speakers.
What are the others doing. The Honda Ridgeline offers the bed-as-a-speaker system. The bed itself acts as a large speakers to play music or other audio. The new 2019 GMC Sierra 1500 offers an auxiliary stereo system built into its folding MultiPro tailgate.
While other manufacturers offer built-in bed or tailgate stereo solutions, this Ford patent goes for the video as well.
How will this video/audio entertainment system be powered? Presumably via a in-bed power inverter outlet. Perhaps, this system would make a lot of sense on the upcoming 2020 Ford F-150 Hybrid that is rumored to have plenty of electric reserve to power tools or your next movie night.
What will they think of next? Perhaps, a built-in grill and a refrigerator are in order?
All images in this post are from the Ford’s US patent listing. Ford initially filed this idea and implementation in 2017. The patent was recently granted in 2019.


